|
SOMMAIRE |
Présentation
À propos des interrupteurs variateur ZigBee Moes ZS-EUDX-XX-MS
Le dimmer tactile Zigbee MOES ZS‑EUDX‑XX‑MS est un interrupteur variateur d’éclairage, idéal pour piloter vos ampoules LED dans un câble mural classique, tout en conservant une pose épurée.
Compatible avec les écosystèmes Tuya Smart Life, Smart Life, Google Home, Amazon Alexa et Jeedom/Home Assistant, il offre un contrôle fluide (0‑100 %) de l’éclairage, un fonctionnement stable en Zigbee 3.0, et prend en charge la programmation horaire pour automatiser vos ambiances.
Doté d’un design moderne en verre trempé, ce module supporte une puissance maximale de 200 W, met en mémoire le dernier état après coupure, et permet un utilisation en multi‑contrôle sans interférences grâce à son association Zigbee avec d’autres interrupteurs.
Élégant, performant et facile à installer, le MOES ZS‑EUDX‑XX‑MS modernise votre éclairage pour une maison plus connectée et économiquement optimisée.
Présentation

Installation
Avant de commencer :
|
- Coupez le disjoncteur et utilisez le testeur électrique pour tester l'alimentation.
- Assurez-vous que le disjoncteur est coupé avant de procéder au câblage.

| Attention : Veuillez couper l'alimentation avant d'installer ou de retirer l'appareil afin d'éviter tout dommage irréversible dû au courant électrique. |
- Retirez l'ancien interrupteur.

- Retirez l'interrupteur et éloignez-le du mur.
- Identifiez le fil de ligne/charge (Remarque : la couleur de votre fil peut être différente de celle indiquée dans le manuel).
Attention : Vérifiez que l'alimentation est coupée.
|
- Photographiez le câblage.

- Suivez le schéma de câblage pour connecter les fils de l'interrupteur aux fils du boîtier mural à l'aide des conducteurs.

- Ouvrez le panneau de l'interrupteur par le bas à l'aide d'un tournevis.

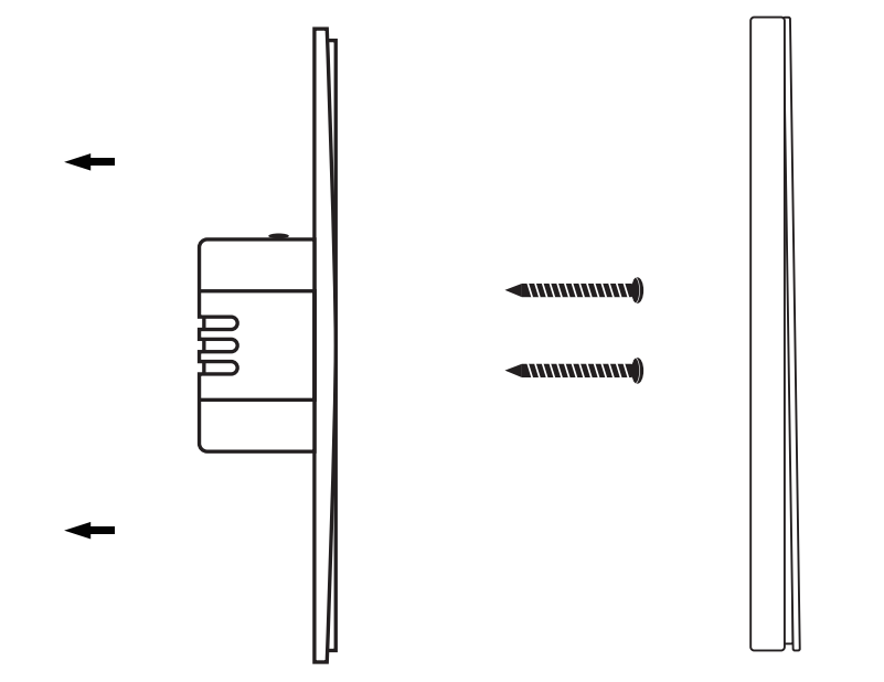
- Fixez l'interrupteur à l'aide des vis fournies et enclenchez la plaque murale.

- Remettez le courant au disjoncteur, puis allumez la lumière.
Ajout à votre système domotique
- L'appairage du module devra se faire à moins de 2 m (sans obstacle) de la passerelle ou adaptateur ZigBee. Une fois l'appairage effectué, vous pourrez installer le module à l'emplacement souhaité.
- Activez le mode d'ajout / inclusion de périphérique ZigBee sur votre passerelle / box domotique :
- Avec passerelle Tuya Smart / Smart Life / Lidl Home :
- Si vous n'avez pas encore configuré votre passerelle Tuya, suivez d'abord le manuel en français de la passerelle ZigBee WiFi Tuya Smart Life
- Cliquez sur la passerelle ZigBee puis, en bas du menu, sur "Ajouter un sous-appareil".
- Avec passerelle Tuya Smart / Smart Life / Lidl Home :
-
- Avec passerelle Sonoff eWelink :
- Si vous n'avez pas encore configuré la passerelle ZigBee Sonoff, suivez d'abord le manuel en français de la passerelle ZigBee WiFi pour eWelink Sonoff SNZB-BRIDGE
- Cliquez sur la passerelle ZigBee ("Bridge") puis sur "Ajouter"
- Avec passerelle Sonoff eWelink :
-
- Sur Jeedom :
- Vous devez disposer d'un dongle ZigBee et avoir préalablement installé et configuré le plugin ZigBee (voir notre manuel : Installation, configuration et utilisation du plugin ZigBee)
- Allez dans le plugin ZigBee puis cliquez sur "Inclusion".
- Sur Jeedom :
-
- Sur eedomus+ :
- Vous devez avoir préalablement connecté un Dongle ZigBee ZiGate
- Cliquez sur "Configuration" puis sur la eedomus et "Configurer". Dans l'onglet ZiGate, cliquez sur "Permit Join".
- Sur eedomus+ :
-
- Sur Homey : Dans le menu Appareils appuyez sur le bouton + en haut à droite, cherchez l'app Homey puis sélectionnez zigbee et suivez les instructions (le délai d'ajout peut être long).
-
- Sur une Amazon Echo dotée du ZigBee : Dans l'application Alexa, appuyez sur "Ajouter un appareil" puis, tout en bas de la liste, choisissez "autres" et suivez les instructions.
-
- Si vous utilisez une autre passerelle ou logiciel domotique, veuillez consulter son manuel afin de connaitre sa procédure d'appairage ZigBee.
- Appuyez sur le bouton de l'interrupteur 6 fois, maintenez-le enfoncé la 6ème fois jusqu'à ce que le voyant bleu clignote rapidement, puis relâchez-le.
- Votre logiciel domotique doit vous confirmer la détection du module puis vous guider pour terminer son ajout.
| L'utilisation du produit dépend du logiciel domotique utilisé, veuillez consulter la documentation de ce logiciel pour en savoir plus. |
Exemple d'ajout avec l'application Moes ou Tuya
| Assurez-vous que l'appareil se trouve dans la zone de couverture du signal de votre passerelle ZigBee pour une connexion réussie. |
- Assurez-vous que votre application MOES ou Tuya est correctement connectée à une passerelle Zigbee.

- Appuyez sur le bouton de l'interrupteur 6 fois, maintenez-le enfoncé la 6ème fois jusqu'à ce que le voyant bleu clignote rapidement, puis relâchez-le.
- Sur l'interface de la passerelle, cliquez sur « Ajouter un sous-appareil ».
- Cliquez sur « Le voyant clignote déjà ». La connexion prendra environ 10 à 120 secondes, selon l'état de votre réseau.

- Le module est correctement connecté au réseau. Une fois l'ajout d'un appareil terminé, cliquez sur « Terminé ».
- Cliquez sur « Terminé » pour accéder à la page de l'appareil.
